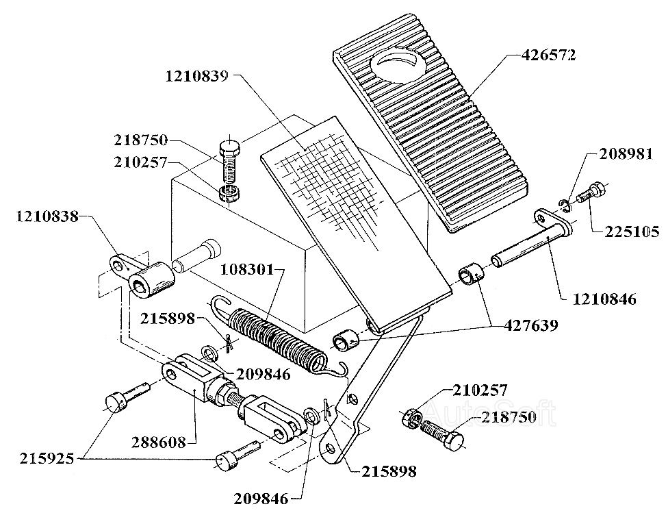
Командное устройство EB687-Piccolo
1 ₽
Удалить товар
Вы точно хотите удалить выбранный товар? Отменить данное действие будет невозможно.
| # | Номер детали | Наименование | Кол-во на модель |
|---|---|---|---|
| 687.33.65.04.00.00.00-00 | Командное устройство | 1 | |
| 1 | 2705.02.00.11 | Пружина | 1 |
| 2 | 6Н БДС833-82 | Пружинная шайба 2 | 1 |
| 3 | [Шайба АМ8 БДС206-78] | Шайба АМ8 БДС206-78 | 2 |
| 4 | [Гайка М8-5 БДС744-73] | Гайка М8-5 БДС744-73 | 2 |
| 5 | [Шплинт 2х14 БДС55-77] | Шплинт 2х14 БДС55-77 | 2 |
| 6 | Б2-8h11х22х18.5х2 БДС3048-89 | Ось | 2 |
| 7 | [Болт 2 М8х25-5.6 БДС1230-85] | Болт 2 М8х25-5.6 БДС1230-85 | 2 |
| 8 | [Болт 2 М6х10-5.6 БДС1230-85] | Болт 2 М6х10-5.6 БДС1230-85 | 1 |
| 9 | 715.33.10.04.02.00.00 | Штанга в сборе | 1 |
| 10 | 3691.33.2.04.00.00.09 | Резиновая подножка | 1 |
| 11 | 755.33.04.01.00.01 | Втулка подшипника | 2 |
| 12 | 687.33.65.04.01.00.01 | Кулак | 1 |
| 13 | 687.33.65.04.01.00.00 | Педаль в сборе | 1 |
| 14 | 687.33.77.04.02.00.00 | Ось в сборе | 1 |
Вы точно хотите удалить выбранный товар? Отменить данное действие будет невозможно.
Вы точно хотите удалить выбранный товар? Отменить данное действие будет невозможно.