Топливоподкачивающий насос Д3900
1 ₽
Удалить товар
Вы точно хотите удалить выбранный товар? Отменить данное действие будет невозможно.
Топливоподкачивающий насос Д3900 В2642952, В2642971
№ позиции | № по каталогу | № позиционный |
Наименование |
|
1 |
В2642952 |
6 478 824 |
Топливоподкачивающий насос 3900 |
|
1 |
В2642971 |
6 518 455 |
Топливоподкачивающий насос 7990178/19 |
|
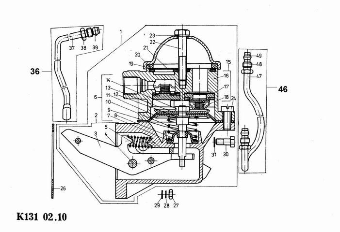
2 |
3900 02.00.00 |
|
Корпус в (в сборе) |
|
3 |
3900 02.01.00 |
|
Коромысло |
|
4 |
3900 02.00.03 |
|
Ось коромысла |
|
5 |
3900 02.00.02 |
|
Пружина |
|
6 |
3900 02.02.00 |
|
Мембрана (в сборе) |
|
7 |
3900 02.01.05 |
|
Шайба |
|
8 |
3900 02.02.06 |
|
Уплотнение |
|
9 |
3900 02.02.03 |
|
Тяга |
|
10 |
3900 02.02.04 |
|
Пружина |
|
11 |
3900 02.02.02 |
|
Диск мембраны |
|
12 |
|
|
Кольцо 1А5х9 АI 99.5 БДС 3609-73 |
|
13 |
3900 02.02.01 |
|
Шайба |
|
14 |
|
|
Гайка М5-04 БДС 1251-83/Zn |
|
15 |
3900 01.00.00 |
|
Головка (в сборе) |
|
16 |
3900 01.00.01 |
|
Головка |
|
17 |
3900 01.00.02 |
|
Уплотнение |
|
18 |
3900 01.01.00 |
|
Клапан |
|
19 |
3900 00.00.02 |
|
Крышка |
|
20 |
3900 00.00.01 |
|
Уплотнение |
|
21 |
3900 00.01.00 |
|
Фильтр |
|
22 |
|
6 224 540 |
Болт А1 М5х30-6.8 БДС 2130-86/Zn |
|
23 |
|
|
Кольцо I А5х9 АI 99.5 БДС 3609-73 |
|
24 |
|
|
Винт 1АМ5х12/12-5.8 БДС 832-83/Zn |
|
26 |
36851113 |
6 467 884 |
Уплотнение |
|
26 |
3681114 |
6 518 791 |
Уплотнение |
|
27 |
|
6 235 781 |
Гайка М8-8 БДС 744-83/Zn |
|
28 |
|
6 205 035 |
Шайба 2-8Л БДС 833-82/Zn |
|
29 |
|
6 204 978 |
Шайба АМ8 БДС 206-78/Zn |
|
30 |
|
6 239 765 |
Винт М8х25-8.8 БДС 2171-83/Zn |
|
31 |
|
6 240 403 |
Кольцо I А5х9 АI 99.5 БДС 3609-73 |
|
36 |
В35551024 |
8 478 726 |
Труба топливоподкачивающий насос-топливный фильтр (в сборе) |
|
36 |
В35551025 |
8 503 474 |
Труба топливоподкачивающий насос-топливный фильтр (в сборе) |
|
37 |
В35551021 |
7 487 732 |
Труба топливная |
|
38 |
В33532130 |
6 420 343 |
Гайка упорная |
|
39 |
В33171153 |
6 471 421 |
Коническое уплотнение |
|
40 |
В37331687 |
6 437 524 |
Скоба |
|
46 |
В35317474 |
8 478 177 |
Трубопровод фильтр отстойник-топливоподкачивающий насос |
|
46 |
В35317475 |
8 503 483 |
Трубопровод фильтр отстойник-топливоподкачивающий насос |
|
47 |
В34741311 |
6 489 593 |
Труба |
|
48 |
В33532130 |
6 420 343 |
Гайка упорная |
|
49 |
В33171153 |
6 471 421 |
Коническое уплотнение |
Вы точно хотите удалить выбранный товар? Отменить данное действие будет невозможно.
Вы точно хотите удалить выбранный товар? Отменить данное действие будет невозможно.