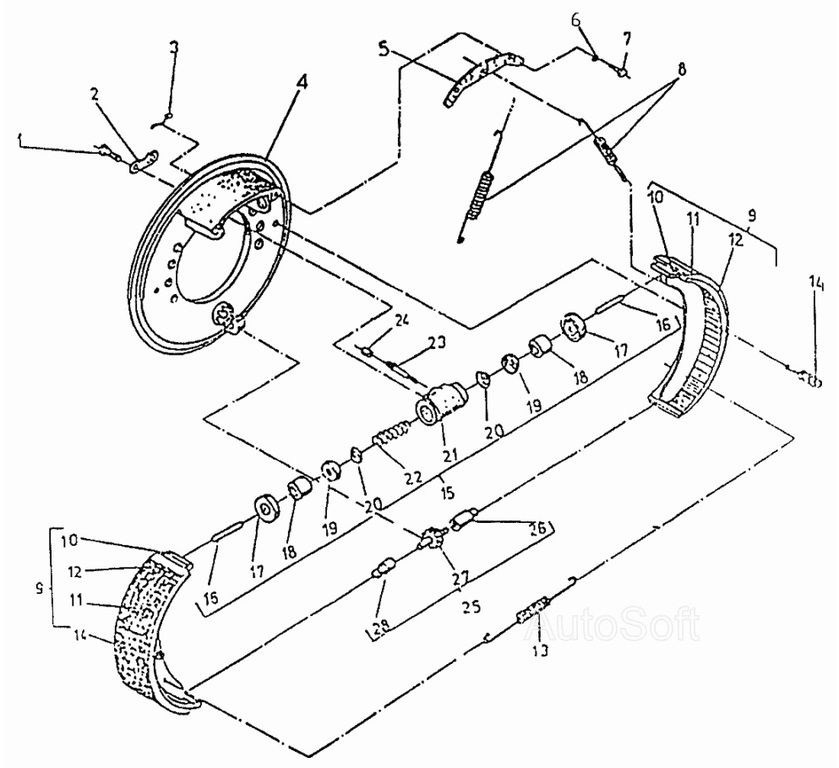
Сервотормоз 270мм 1784.h.20, 1786.h.20
1 ₽
Удалить товар
Вы точно хотите удалить выбранный товар? Отменить данное действие будет невозможно.
| # | Номер детали | Наименование | Кол-во на модель |
|---|---|---|---|
| 6942.20.00.00.00-02 | Сервотормоз 270 | 1 | |
| 1 | [Болт 1 М8х25-8.8 БДС1232-86] | Болт 1 М8х25-8.8 БДС1232-86 | 2 |
| 2 | 6981.00.00.04 | Пластина контровочная | 1 |
| 3 | 6981.00.00.06 | Рычаг | 2 |
| 4 | 6949.20.01.00.00-03 | Диск тормозной | 1 |
| 5 | 6981.20.00.00.01 | Планка | 1 |
| 6 | [Шайба 2-8Н БДС833-82] | Шайба 2-8Н БДС833-82 | 4 |
| 7 | [Болт 1 М8х16-8.8 БДС1232-86] | Болт 1 М8х16-8.8 БДС1232-86 | 2 |
| 8 | С-02.00.00.19 | Пружина возвратная | 2 |
| 9 | 6981.20.02.00.00-02 | Колодка тормозная в сборе | 2 |
| 10 | [Колодка тормозная] | Колодка тормозная | 2 |
| 11 | [Тормозная накладка] | Тормозная накладка | 2 |
| 12 | 6981.01.00.04 | Заклепка | 28 |
| 13 | 6981.00.00.02 | Возвратная пружина | 1 |
| 14 | 6981.01.00.02 | Стопорная пружина | 2 |
| 15 | 4456.00-01 | Колесный тормозной цилиндр двойного действия КСЦД 28 | 1 |
| 16 | 4456.01 | Опорный штифт | 2 |
| 17 | [Предохранительная мембрана 28х10 3Н6910-69] | Предохранительная мембрана 28х10 3Н6910-69 | 2 |
| 18 | 4435.02 | Поршень | 2 |
| 19 | [Манжета 28 3Н6430-69] | Манжета 28 3Н6430-69 | 2 |
| 20 | 4435.03 | Тарелка | 2 |
| 21 | 4435.01 | Корпус | 1 |
| 22 | 4435.04 | Пружина | 1 |
| 23 | [М10х1-6gх48 3Н1720-79] | Клапан удаления воздуха М10х1-6gх48 3Н1720-79 | 1 |
| 24 | [Колпак предохранительный 3Н1721] | Колпак предохранительный 3Н1721 | 1 |
| 25 | 6981.03.00.00 | Сцепляющий механизм | 1 |
| 26 | 6981.03.00.01 | Специальная втулка | 1 |
| 27 | 6981.03.02.00 | Шестерня в сборе | 1 |
| 28 | 6981.03.00.03 | Опорная втулка | 1 |
Вы точно хотите удалить выбранный товар? Отменить данное действие будет невозможно.
Вы точно хотите удалить выбранный товар? Отменить данное действие будет невозможно.