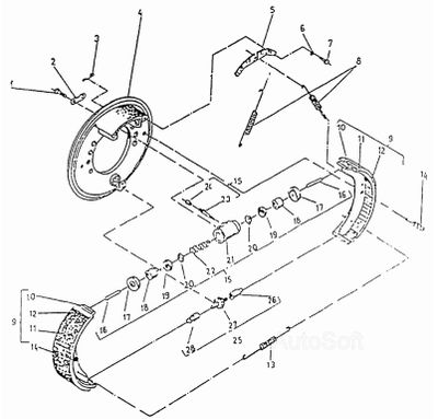
Сервотормоз 335 1788.h.20, 1792.h.20, 1794.h.24
1 ₽
Удалить товар
Вы точно хотите удалить выбранный товар? Отменить данное действие будет невозможно.
| # | Номер детали | Наименование | Кол-во на модель |
|---|---|---|---|
| 6941.21.00.00.00-02 | Сервотормоз 335 | 1 | |
| 1 | [Болт 1 М8х35-8.8 БДС1232-86] | Болт 1 М8х35-8.8 БДС1232-86 | 2 |
| 2 | 6981.00.00.04 | Пластина контровочная | 1 |
| 3 | 6981.00.00.06 | Рычаг | 2 |
| 4 | 6947.21.01.00.00-03 | Диск тормозной в сборе | 2 |
| 5 | 6947.20.00.00.01 | Плита | 2 |
| 6 | [Шайба 2-8Н БДС833-82] | Шайба 2-8Н БДС833-82 | 4 |
| 7 | [Болт 1 М8х16-8.8 БДС1232-86] | Болт 1 М8х16-8.8 БДС1232-86 | 2 |
| 8 | 6986.00.00.01 | Пружина возвратная | 2 |
| 9 | 6947.20.02.00.01 | Колодка тормозная в сборе | 2 |
| 10 | 6947.20.02.00.00-02 | Колодка тормозная | 2 |
| 11 | [Тормозная накладка 297 КтМ1152-01] | Тормозная накладка 297 КтМ1152-01 | 2 |
| 12 | 6986.01.00.04 | Заклепка | 28 |
| 13 | 6981.00.00.02 | Возвратная пружина | 1 |
| 14 | 6986.01.00.02 | Пружина фиксаторная | 2 |
| 15 | 445800-05 | Колесный тормозной цилиндр двойного действия КСЦД-35А/15 | 1 |
| 16 | 445801-02 | Штифт | 2 |
| 17 | [КЦ35х15 3Н6910] | Предохранительная мембрана КЦ35х15 3Н6910 | 2 |
| 18 | 4437.02 | Поршень | 2 |
| 19 | [Манжета КЦ-35 3Н6430] | Манжета КЦ-35 3Н6430 | 2 |
| 20 | 4437.03П | Тарелка | 2 |
| 21 | 513501046-Z | Корпус | 1 |
| 22 | 4437.04 | Пружина | 1 |
| 23 | [М10х1-6gх10х51 3Н1720] | Клапан удаления воздуха М10х1-6gх10х51 3Н1720 | 1 |
| 24 | 12-3501049П | Колпачок предохранительный | 1 |
| 25 | 6981.03.00.00 | Сцепляющий механизм | 1 |
| 26 | 6981.03.00.01 | Специальная втулка | 1 |
| 27 | 6981.03.02.00 | Шестерня в сборе | 1 |
| 28 | 6981.03.00.03 | Опорная втулка | 1 |
Вы точно хотите удалить выбранный товар? Отменить данное действие будет невозможно.
Вы точно хотите удалить выбранный товар? Отменить данное действие будет невозможно.