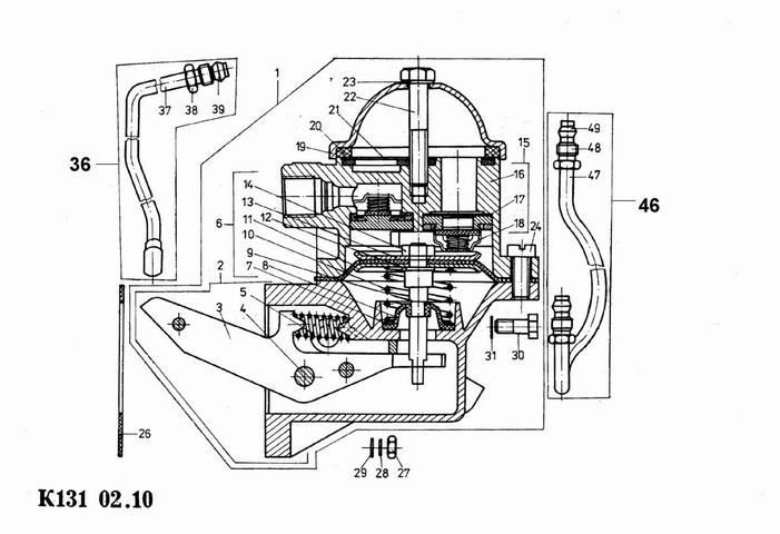
Топливоподкачивающий насос
1 ₽
Удалить товар
Вы точно хотите удалить выбранный товар? Отменить данное действие будет невозможно.
№ позиции | № по каталогу | № позиционный |
Наименование |
|
1 |
6 478830 |
В2642953 |
Насос топливоподкачивающий 2500 |
|
2 |
|
2500 02.00.00 |
Корпус (в сборе) |
|
3 |
|
2500 02.01.00 |
Коромысло |
|
4 |
3900 02.00.03 |
3900 02.00.03 |
Ось коромысла |
|
5 |
|
3900 02.00.02 |
Пружина |
|
6 |
|
3900 02.02.00 |
Мембрана (в сборе) |
|
7 |
|
3900 02.02.05 |
Шайба |
|
8 |
|
3900 02.02.06 |
Уплотнение |
|
9 |
|
3900 02.02.03 |
Тяга |
|
10 |
|
3900 02.02.04 |
Пружина |
|
11 |
|
3900 02.02.02 |
Диск мембранный |
|
12 |
|
|
Кольцо I A 5x9 Al 99,5 БДС 3609-73 |
|
13 |
|
3900 02.02.01 |
Шайба |
|
14 |
|
|
Гайка М5-04 БДС 1251-83/Zn |
|
15 |
|
3900 01.00.00 |
Головка (в сборе) |
|
16 |
|
390 |
Головка |
|
17 |
|
3900 |
Уплотнение |
|
18 |
|
3900 01.01.00 |
Клапан |
|
19 |
|
3900 |
Крышка |
|
20 |
|
3900 00.00.01 |
Уплотнение |
|
21 |
|
3900 00.01.01 |
Фильтр |
|
22 |
6 224540 |
|
Болт А1 М5х30-8.8 БДС 1230-86/Zn |
|
23 |
|
|
Кольцо I A5x9 Al 99,5 БДС 3609-73 |
|
24 |
|
|
Винт 1 А М5х12/12-8.8 БДС 832-83/Zn |
|
26 |
6 467884 |
368 51113 |
Уплотнение |
|
27 |
6 235781 |
|
Гайка М8-8 БДС 744-83/Zn |
|
28 |
6 205035 |
|
Шайба 2-8Л БДС 833-82/Zn |
|
29 |
6 204978 |
|
Шайба АМ 8 БДС 206-78/Zn |
|
30 |
6 239765 |
|
Винт М8х25-8.8 БДС 2171-83/Zn |
|
31 |
6 240403 |
|
Кольцо I A 8x12 Al 99,5 БДС 3609-73 |
|
36 |
8 478183 |
В35317174 |
Труба - топливоподкачивающий насос - топливный фильтр |
|
36 |
8 473048 4566693943 |
В35353386 |
Труба - топливоподкачивающий насос - топливный фильтр |
|
37 |
7 478198 |
В35317146 |
Труба топливная |
|
37 |
7 473054 45666933210 |
В35353383 |
Труба топливная |
|
38 |
6 420343 4566692220 |
В33532130 |
Гайка упорная |
|
39 |
6 471421 4566694041 |
В33171153 |
Уплотнение коническое |
|
40 |
6 431985 |
В36565874 |
Скоба |
|
46 |
8 478227 |
В35511158 |
Трубопровод - фильтр-отстойник - топливоподкачивающий насос |
|
46 |
8 472717 4566693643 |
В35714445 |
Трубопровод - фильтр-отстойник - топливоподкачивающий насос |
|
46 |
8 481158 |
В35353491 |
Трубопровод - фильтр-отстойник - топливоподкачивающий насос |
|
47 |
6 478135 |
В34232181 |
Труба |
|
47 |
6 481143 |
В34231091 |
Труба |
|
47 |
7 448414 |
В35714444 |
Труба топливная |
|
48 |
6 420343 |
В33532130 |
Гайка опорная |
|
49 |
6 471421 4566694041 |
В33171153 |
Уплотнение коническое |
Вы точно хотите удалить выбранный товар? Отменить данное действие будет невозможно.
Вы точно хотите удалить выбранный товар? Отменить данное действие будет невозможно.