Тормозная система ДВ 1792/84/88/86
1 ₽
Удалить товар
Вы точно хотите удалить выбранный товар? Отменить данное действие будет невозможно.
| # | Номер детали | Наименование | Кол-во на модель |
|---|---|---|---|
| 1790.33.20.08.00.00-01 | Тормозная система | 1 | |
| 1790.33.20.08.00.00-02 | Тормозная система | 1 | |
| 1790.33.20.08.00.00-03 | Тормозная система | 1 | |
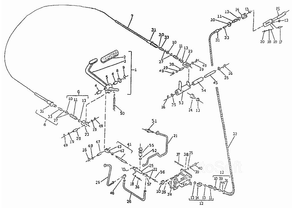
| 1 | 1790.33.20.08.10.00.00 | Тормозная педаль в сборе | 1 |
| 2 | 1790.33.20.08.10.00.01 | Подножка резиновая | 1 |
| 3 | 1790.33.20.08.10.01.00 | Тормозная педаль | 1 |
| 4 | 2733.34.06.01 | Втулка | 2 |
| 5 | 1.1 БДС1640-81 | Пресс-масленка | 1 |
| 6 | 1790.33.20.08.02.00 | Трос в сборе | 1 |
| 7 | [Защитная оболочка ОН04 61246-72] | Защитная оболочка ОН04 61246-72 | 1 |
| 8 | [Шайба М20 БДС14494-78] | Шайба М20 БДС14494-78 | 1 |
| 9 | [Шплинт 4х32 БДС55-77] | Шплинт 4х32 БДС55-77 | 1 |
| 10 | М12-5 БДС744-83 | Гайка | 10 |
| 11 | 1784.33.02.00.05 | Предохранитель | 4 |
| 12 | 1784.33.02.08.00 | Тормозной трос в сборе | 1 |
| 13 | [Гайка М8-5 БДС744-91] | Гайка М8-5 БДС744-91 | 6 |
| 14 | 1784.33.02.08.01 | Вилка | 2 |
| 15 | 5743.00.00.00 | Ручной тормоз в сборе | 1 |
| 16 | [Шплинт 3,2х16 БДС55-77] | Шплинт 3,2х16 БДС55-77 | 3 |
| 17 | 1784.33.02.00.10 | Втулка | 3 |
| 18 | [Шайба 2-8Н БДС833-82] | Шайба 2-8Н БДС833-82 | 5 |
| 19 | [Шайба М8 БДС14494-78] | Шайба М8 БДС14494-78 | 5 |
| 20 | [Болт 1 М8х50-5.6 БДС1230-85] | Болт 1 М8х50-5.6 БДС1230-85 | 3 |
| 21 | 1790.33.20.08.08.00 | Труба правая в сборе | 1 |
| 21 | 1790.33.20.08.08.00-01 | Труба правая в сборе | 1 |
| 22 | [Кольцо II А 12х18 Сu99,7 БДС3609-73] | Кольцо II А 12х18 Сu99,7 БДС3609-73 | 4 |
| 23 | 1790.33.20.08.02.01 | Вилка | 2 |
| 24 | 1784.33.20.03.00.01 | Пробка упорная | 1 |
| 25 | 4151580110 | Главный тормозной цилиндр с25 (S=30) КтМ702 | 1 |
| 26 | 1790.33.20.08.11.00 | Труба в сборе | 1 |
| 26 | 1790.33.20.08.13.00 | Труба в сборе | 1 |
| 27 | [Шайба 12 БДС3223-74] | Шайба 12 БДС3223-74 | 4 |
| 28 | [Ось 8х30/25 БДС5282-73] | Ось 8х30/25 БДС5282-73 | 2 |
| 29 | 1790.33.20.08.09.00 | Труба левая в сборе | 1 |
| 29 | 1790.33.20.08.09.00-01 | Труба левая в сборе | 1 |
| 30 | [4-Г-В-С-Н-1372 (L=709) ГОСТ3063-80] | Стальной трос 4-Г-В-С-Н-1372 (L=709) ГОСТ3063-80 | 1 |
| 31 | 1784.33.02.08.02 | Ниппель | 4 |
| 32 | [4,5х9,2х1037 ОН04 61246-72] | Защитная оболочка 4,5х9,2х1037 ОН04 61246-72 | 1 |
| 33 | 1790.33.20.08.02.02 | Наконечник | 2 |
| 34 | 6940.00.00.00 | Дисковый тормоз | 1 |
| 35 | [Шайба М12 БДС14494-78] | Шайба М12 БДС14494-78 | 10 |
| 36 | [Болт 1 М8х20-5.6 БДС1230-85] | Болт 1 М8х20-5.6 БДС1230-85 | 2 |
| 37 | 1784.33.02.00.09 | Пружина | 1 |
| 38 | 1784.33.02.00.12 | Плита | 10 |
| 39 | [Шайба 2-12Н БДС833-82] | Шайба 2-12Н БДС833-82 | 4 |
| 40 | [Болт 1 М12х50-5.6 БДС1230-85] | Болт 1 М12х50-5.6 БДС1230-85 | 4 |
| 41 | 1790.33.20.04.08.00 | Шток поршневой в сборе | 1 |
| 42 | [Гайка II М10-5 БДС1262-83] | Гайка II М10-5 БДС1262-83 | 1 |
| 43 | 7002.02.06 | Вилка | 1 |
| 44 | [4-Г-В-С-Н-1372 (L=1250) ГОСТ3063-80] | Стальной трос 4-Г-В-С-Н-1372 (L=1250) ГОСТ3063-80 | 1 |
| 45 | 1784.33.20.03.00.02 | Ось | 1 |
| 46 | 2733.52.00.02 | Тройник промежуточный | 1 |
| 47 | [Ось В10х30 БДС3048-78] | Ось В10х30 БДС3048-78 | 1 |
| 48 | [Шайба М10 БДС14494-78] | Шайба М10 БДС14494-78 | 1 |
| 49 | [Шплинт 2х20 БДС55-77] | Шплинт 2х20 БДС55-77 | 4 |
| 50 | 2733.14.00.07 | Пружина | 1 |
| 51 | 7002.00.03 | Штуцер | 2 |
| 52 | [Кольцо 2-19х3-3 БДС7947-85] | Кольцо 2-19х3-3 БДС7947-85 | 1 |
| 53 | 1784.33.20.03.01.00 | Вилка в сборе | 1 |
| 54 | 1784.33.20.03.01.01 | Втулка | 1 |
| 55 | 7149.1.00.00 | Резервуар тормозной жидкости в сборе | 1 |
| 56 | 1790.33.20.04.00.03 | Болт накидной гайки | 1 |
| 57 | 1790.33.20.04.00.04 | Накидная гайка | 1 |
Вы точно хотите удалить выбранный товар? Отменить данное действие будет невозможно.
Вы точно хотите удалить выбранный товар? Отменить данное действие будет невозможно.